13296444375

全站搜索

首页 / doinb雷竞技 / 加工方法知多少
返回

加工方法知多少

浏览次数:150 分类:doinb雷竞技 分类:行业新闻

在机械加工中,根据机械加工工件的材质和要求可以选择不同的加工方法,了解常见的机械加工类型及机械加工知识,可以让我们选择更合适的机械加工方法及适用范围,那么机械加工方法和适用范围应该怎么选择呢?

其中常用的普通切削加工有:车、钻、镗、刨、拉、铣和磨等,包含数控机械加工,数控加工是运用计算机控制程序进行自动化加工。

一、车削加工

利用车床加工零件的方法统称为车削加工。车削加工中以工件旋转,形成主切削运动。刀具沿平行旋转轴线运动时,就形成内、外圆柱面。刀具沿与轴线相交的斜线运动,就形成锥面。仿形车床或数控车床上,可以控制刀具沿着一条曲线进给,则形成一特定的旋转曲面。采用成型车刀,横向进给时,也可加工出旋转曲面来。车削加工还可以加工螺纹面、端平面及偏心轴等。车削加工精度一般为IT11—IT6,表面粗糙度为12.5—0.8μm。精车时,可达IT6—IT5,粗糙度可达0.4—0.1μm。车削加工的生产率较高,切削过程比较平稳,刀具较简单。

微信图片_20221110135727

二、钻削、钻孔

在钻床上加工各种内孔的工艺称为钻削加工,是孔加工的最常用方法。钻削加工的精度较低,一般为IT12-IT11,表面粗糙度一般为为Ra5.0-6.3um,在钻削加工后常常采用扩孔和铰孔来进行半精加工和精加工。扩孔采用扩孔钻,铰孔采用铰刀进行加工。铰削加工精度一般为IT9—IT6,表面粗糙度为Ra1.6—0.4μm。扩孔、铰孔时,钻头、铰刀一般顺着原底孔的轴线,无法提高孔的位置精度。

钻削应用:单件、小批生产中,中小型工件上的小孔(D<13 mm)常用台式钻床加工,较大的孔(D<50 mm)常用立式钻床加工;大中型工件上的孔应采用摇臂钻床加工,回转体工件上的孔在车床上加工。

在成批和大量生产中,为了保证加工精度,提高生产效率和降低加工成本,广泛使用钻模、多轴钻或组合机床进行孔的加工。

精度高、粗糙度小的中小直径孔(D<50mm),在钻削之后,常常需要采用扩扎和铰孔进行半精加工和精加工。

微信图片_20221110135821

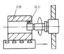
三、镗削

镗刀旋转作主运动,工件或镗刀作进给运动的切削加工方法。镗削加工主要在铣镗床、镗床上进行。镗孔是对锻出、铸出或钻出孔进一步加工,镗孔可以分为粗镗、半精镗、精镗。

粗镗     IT12-IT11  Ra 25-12.5μm

半精镗   IT10-IT9   Ra 6.3-3.2μm

精镗     IT8-IT7    Ra 1.6-0.8μm

车床上镗孔:工件旋转、镗刀进给,如图下图所示:

微信图片_20221110135901

点击取消回复

    分类

    在线客服x

    客服
    顶部 回到顶部
    Baidu
    map